通常所說的自力式壓差控制閥,其功能是控制網路中某個支路工某個用戶的壓差,使之基本恒定,而自身消耗的壓差則是變化的,正是通過調整自身的開度,來調度自身所消耗的壓差,以實現被控對象的壓差恒定。這種壓差控制閥在供熱空調工程已有了較多的應用,尤其是在分戶計量供暖工程中被廣泛采用,所以被大家熟悉和了解。本文介紹一種功能與其不同的自力式壓差控制閥,它的作用是控制自身的壓差,因而可稱為自身壓差控制閥。同時,探討它在暖通工程中的應用。
一 結構與工作原理

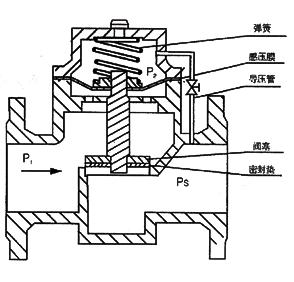
圖1
這里以ZY47-16C型自力式壓差控制閥為例,介紹自身壓差控制閥的工作原理。圖1為ZY47-16C型自力式壓差控閥的結構與工作原理示意圖。彈簧、感壓膜和閥桿固結在一起,通過導壓管將出口壓力P2導入感壓膜上部的密封腔,感壓膜下部為入口壓力P1。根據P1-P2的設定值△Ps(以下簡稱設定壓差)確定彈簧的預壓縮量,即使彈簧的彈力與設定壓差條件下感壓膜對彈簧的作用力相等。并按照閥塞的行程遠小于彈簧預壓縮量的原則選擇彈簧。這樣就使得在閥門任一開度的平衡狀態,閥的進、出口壓差△P與設定壓差△Ps近似相等。嚴格地說,開度不同,平衡狀態的△P是不相等的。顯然,隨差開度的增大,平衡狀態的△P是增大的。但通過對彈簧的選擇,完全可以在閥塞的全行程內,將平衡狀態的△P相對于△Ps的偏離控制在一定的范圍(比如5%)之內。
自力式壓差控制閥在系統中的工作可分為兩種情況進行說明:1)當前狀態為關閉。若閥前后壓差△P小于設定壓差△Ps,則繼續關閉,這時就是一個關斷閥。若△P大于△Ps,則感壓膜克服彈簧的彈力,帶動閥塞上升,閥門開啟;達到平衡狀態時,進、出口壓差△P近似回落到設定壓差△Ps。2)當前狀態為開啟。若系統穩定運行,進、出口壓差△P近似為設定壓差。若由于系統工況的改變,使△P增大,則閥門開大,流量增大;達到平衡狀態時,△P又近似回落到△Ps。閥門為最大開度時,出現△P大于△Ps的情況,閥門不再具有調控壓差的能力。若由于系統工況的改變,使進、出口壓差△P小于△Ps,則閥門關小,流量減小,達到平衡狀態時,△P又近似上升到△Ps。直至閥門關閉時,出現△P小于△Ps的情況,就不再具有調控壓差的能力,而成為一個關斷閥。簡而言之,自力式壓差控制閥在關閉狀態時,△P必須大于△Ps才能開啟;在開啟狀態時,可自動調整開度,保持閥門前后的壓差基本恒定。
二 自力式壓差控制閥在暖通工程中的應用
2.1在保護冷熱源方面的應用

圖2
近年來,在供熱工程中,燃汕和燃氣機組有了較多的應用。由于對供暖實行計量收費,用戶自主調節流量的意識大大增強,加上生活用熱水在一天之內用量變化較大,使得供熱系統的流量有很大的變化范圍。若流量過小,可能造成燃汕和燃氣機組的局部沸騰,進而使機組受到破壞。對于空調系統中的冷水機組,如果冷凍水量太小,也可能造成蒸發排管局部凍結,進而使機組受到破壞。對于以上兩種情況,可如圖2所示,在旁通管路上,裝設自力式壓差控制閥。由于用戶調節等原因使系統流量減小,壓差控制閥前后的壓差△P就會隨之增大,當△P大于設定壓差△Ps時,壓差控制閥開啟,增大通過冷熱源的流量,保障機組安全運行。在壓差控制閥為開啟狀態時,可始終保持閥前后的壓差基本恒定。而通過閥的流量則與用戶系統的流量呈相反的變化。即用戶系統的流量減小,通過壓差控制閥的流量就會增大;反之,用戶系統的流量增大,則通過自力式壓差控制閥的流量減小。這樣就可保證通過冷熱源的流量不致有太大的變化,既保護了冷熱源,又提高了機組運行的穩定性。

圖3
保護冷熱源的傳統方式是在旁通管路上裝設電動壓差控制閥。當系統流量減小,使電動閥前后壓差大于設定壓差時,電信號驅動電動閥開啟,使冷熱源機組維持必須的最小流量。但電動壓差控制閥由于對電源和傳遞電信號的線路的依賴,因此可靠程度不如自力式壓差控制閥。另外,價格也高于后者。所以,在保護冷熱源方面,完全可以用自力式自身壓差控制閥替代傳統的電動控制閥。
2.2在集中供熱系統中的應用
在集中供熱工程中常常出現這樣的情況:供暖流用戶有低建筑(較矮的建筑或地勢較低的建筑)和高建筑(高層建筑或地勢較高的建筑),若熱網的壓力工況滿足低建筑的散熱器不被壓壞的要求,高建筑就會出現倒空現象;若熱網的壓力工況滿足高建筑不出現倒空現象,則低建筑的散熱器承受的壓力就會超過其承壓能力。借助自身壓差控制閥往往可以解決這個矛盾。

圖4
圖4是一個地勢高差懸殊,熱源位于低處的例子。順著地勢特點,在供水管路適當位置設置加壓水泵,在回水管路適當位置裝設自力式壓差控制閥。在系統運行過程中,壓差控制閥前后的壓差可保持基本恒定。這樣就將網路的動水壓線分為兩個部分,前部的動水壓線相對較低,可滿足低建筑的散熱器不被壞的要求;后部的動水壓線相對較高,可滿足高建筑不發生倒空現象的要求。在系統停止運行時,整個網路的測壓管水頭有達到一致的趨勢,而壓差控制閥則通過減小開度竭力維持原有的壓差基本不變,直至壓差控制閥的關閉。這時,壓差控制閥與供水管路上的止回閥一起,將網路后部與前部隔離開來。網路前部的靜水壓線由于壓差控制閥配裝在一起的定壓補水泵保證。

圖5
相反,若地勢相差懸殊,而熱源在高處,則如圖5所示,順著地勢特點,在供水管路適當位置裝設自身壓差控制閥,在回水管路適當位置設加壓水泵。系統運行時,壓差控制閥前后的壓差可保持基本恒定,這樣就使網路后部的動水壓線相對較低,可滿足低建筑的散熱器不被壓壞的要求;網路前部的動水壓線相對較高,可滿足高建筑不發生倒空現象。系統停止運行時,壓差控制閥自動關閉,與回水管路上的止回閥一起,將網路后部與前部隔離開來。網路前部的靜水壓線由設置在熱源的補水定壓裝置保證,網路后部的靜水壓線則由連通前、后部的補水管路上的補水調節閥保證。

圖6
三 結論
自力式壓差控制閥為關閉狀態時,若閥前、后的壓差小于設定壓差,則繼續關閉;若閥前、后的壓差大于設定壓差,則閥門開啟。為開啟狀態時,可自動調整開度,使閥前、后的壓差基本恒定。
自力式壓差控制閥可用于對冷熱源的保護,與傳統的電動控制保護相比,有控制可靠、價格低廉的優點。
自力式壓差控制閥可用于解決集中供暖工程中高建筑與低建筑高度相差懸殊所產生的對壓力工況要求不同的矛盾。