|
QB1單口排氣閥概述
QB1單口排氣閥為圓桶式閥體,其內部結構主要有不銹鋼浮球。本閥分為絲扣式和法蘭式兩種排氣閥。 QB1型適用與工作溫度≤80℃的管路上,作為排除管路內氣體的設備。
QB1單口排氣閥工作原理
管內開始注水時,浮球會慢慢向上浮起,此時本閥已進行排氣。當達到一定壓力的時候,浮球緊頂住橡膠圈,說明空氣已全部從排氣嘴排出。
|
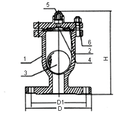
零件材料
1. 閥體、鑄鐵
2. 閥蓋、鑄鐵
3. 浮球、不銹鋼
4. 塞頭、橡膠
5. 排氣嘴、黃銅
6. 螺絲、螺帽、元鋼
|

|
QB1單口排氣閥主要尺寸 單位:mm
|
連接方式 |
DN |
H |
D |
D1 |
Z-Φd |
|
法蘭式 |
15 |
245 |
195 |
160 |
4-18 |
|
20 |
245 |
195 |
160 |
4-18 |
|
25 |
245 |
195 |
160 |
4-18 |
|
絲口式 |
15、20 |
245 |
- |
- |
- |
|
25、32 |
245 |
- |
- |
- |
|
40、50 |
310 |
- |
- |
|
|